2023最大十倍杠杆炒股平台 ETF基金日报丨A500ETF热度不减,多只中证A500ETF获资金流入排名居前

浩洋股份2024年中报显示,公司主营收入6.69亿元,同比下降5.68%;归母净利润2.03亿元,同比下降9.1%;扣非净利润1.95亿元,同比下降10.74%;其中2024年第二季度,公司单季度主营收入3.54亿元,同比下降6.67%;单季度归母净利润1.02亿元,同比下降17.16%;单季度扣非净利润9733.72万元,同比下降19.98%;负债率9.31%,投资收益78.99万元,财务费用-2880.89万元,毛利率51.85%。
一、证券市场回顾
南财金融终端数据显示,昨日(10月30日,下同),上证综指日内下跌0.61%,收于3266.24点,最高3291.68点;深证成指日内下跌0.12%,收于10530.85点,最高10596.22点;创业板指日内下跌1.18%,收于2151.51点,最高2179.94点。
二、ETF市场表现1、股票型ETF整体市场表现
昨日股票型ETF收益率中位数为-0.69%。其中按照不同分类,规模指数中富国创业板中盘200ETF收益率最高,为0.94%;行业指数中南方中证全指计算机ETF收益率最高,为2.11%;策略指数中华安中证500低波ETF收益率最高,为0.37%;风格指数中浙商之江凤凰ETF收益率最高,为0.32%;主题指数中嘉实中证软件服务ETF收益率最高,为2.33%。
2、股票型ETF涨跌幅排行
昨日股票型ETF涨幅最高的3支ETF及其收益率分别为:易方达中证软件服务ETF(2.33%)、嘉实中证软件服务ETF(2.33%)、万家中证软件服务ETF(2.29%)。涨幅前10详情见下表:
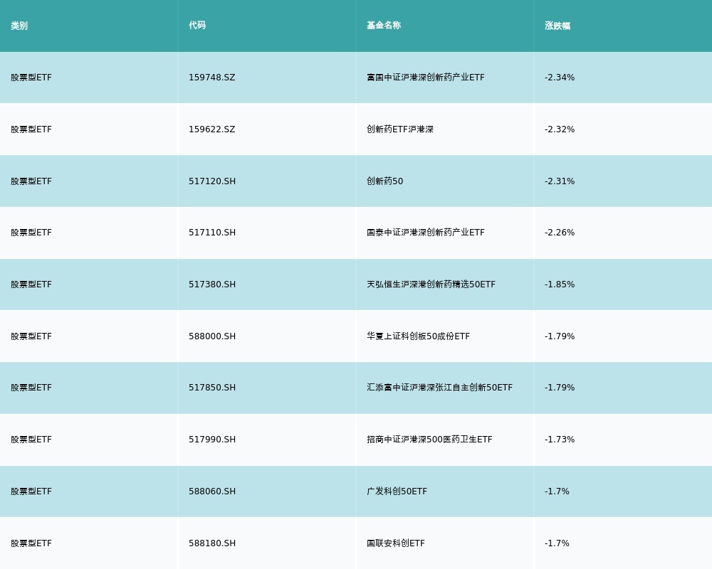
昨日股票型ETF跌幅最大的3支ETF及其收益率分别为:富国中证沪港深创新药产业ETF(-2.34%)、创新药ETF沪港深(-2.32%)、创新药50(-2.31%)。跌幅前10详情见下表:
3、股票型ETF资金流向
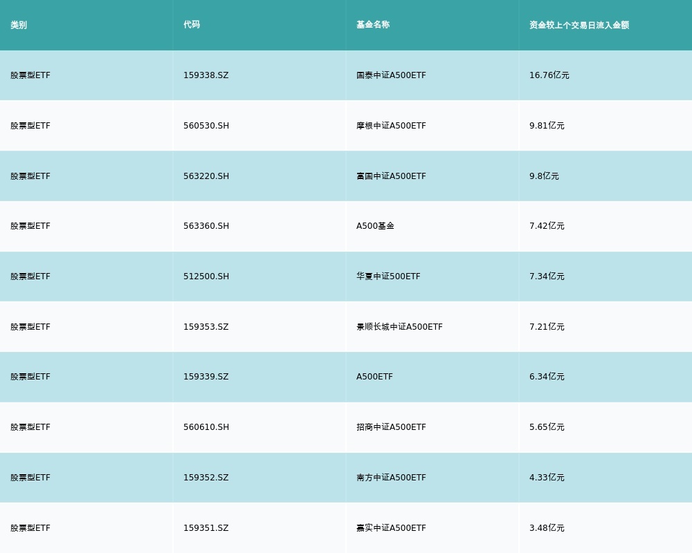
昨日股票型ETF资金流入最多的3支ETF及其流入金额分别为:国泰中证A500ETF(流入16.76亿元)、摩根中证A500ETF(流入9.81亿元)、富国中证A500ETF(流入9.8亿元)。资金流入前10详情见下表:
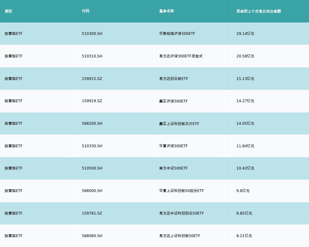
昨日股票型ETF资金流出最多的3支ETF及其流出金额分别为:华泰柏瑞沪深300ETF(流出29.14亿元)、易方达沪深300ETF发起式(流出20.58亿元)、易方达创业板ETF(流出15.13亿元)。资金流出前10详情见下表:
4、股票型ETF融资融券概况
昨日股票型ETF融资买入额最高的3支ETF及其买入金额分别为:华夏上证科创板50成份ETF(15.15亿元)、易方达创业板ETF(8.68亿元)、华泰柏瑞沪深300ETF(7.13亿元)。融资买入额前10详情见下表:
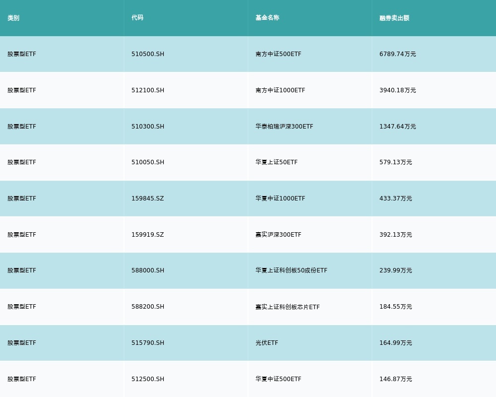
昨日股票型ETF融资卖出额最高的3支ETF及其卖出金额分别为:南方中证500ETF(6789.74万元)、南方中证1000ETF(3940.18万元)、华泰柏瑞沪深300ETF(1347.64万元)。融券卖出额前10详情见下表:
三、机构观点A500 ETF上市后成为近阶段流入金额最多的ETF
招商证券指出,在经历十一前后资金快速入场之后,目前市场资金供需处于紧平衡状态,其中边际变化最为显著的增量资金主要来自于两个方向:A500 ETF、贷款回购。A500 ETF上市后,成为这一阶段流入金额最多的ETF,且近期场外基金的快速发行有望强化这一趋势。
ETF规模的持续扩张已成为A股市场的重要变量 风格上对权重龙头风格具有正反馈作用
招商证券指出,2023年至今保险及被动ETF,保费收入的持续增长使得保险资金成为今年以来最重要增量资金2023最大十倍杠杆炒股平台,投资环境变化和新会计准则实施使得险资更加偏好高股息资产,从而强化中证红利、大盘价值风格。基金被动化投资趋势持续,ETF规模的持续扩张已成为A股市场的重要变量,被动基金具有明显的买入并持有特征,风格上对权重龙头风格具有正反馈作用。
热点资讯
- 2024-12-19股市杠杆是什么意思 新股首日 | 草姬集团(02593)首挂上市 早盘高开25.
- 2024-10-17股指期货配资 合资SUV购车指南,14.99万元起的途观L值得推荐
- 2024-12-28现在股市还有杠杆吗 江苏交通工程集团作为被告/被上诉人的1起涉及建设工程施工合同
- 2024-10-18看股票的平台 纳尔股份:民生证券、交银施罗德基金等多家机构于9月2日调研我司
- 2024-11-16配资公司 美国自动驾驶出租车竞争升级,谷歌Waymo融资56亿美元
- 2024-09-21合法的股票配资平台 顺丰控股海外业务持续发力,供应链及国际业务收入创20月新高
相关资讯
- 网络证劵放大网站 降低乳糖不耐受风险,奶酪可作为孕期补钙选择
- 股票在哪里可以加杠杆 港股概念追踪 | 端午档新片预售票房破亿!今年“黑马“花落
- 股票杠杆怎么算 政策组合拳能否带来后续的“强预期”到“强现实”?有两大关注点
- 配资炒股 配资平台 10月16日宏辉转债上涨0.18%,转股溢价率60.53%
- 炒股融资利息多少 2025年4月8日武汉白沙洲农副产品大市场有限公司价格行情











